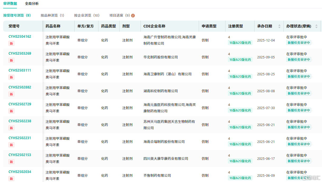
12月4日,据CDE官网显示,4类化学仿制药注射用甲苯磺酸奥马环素截至目前在国内尚无仿制药获批上市。
甲苯磺酸奥马环素属于30S subunit抑制剂,是四环素家族中脱颖而出的创新成员。2018年,这款药物在美国成功获批上市,为抗菌治疗领域注入新活力。该品种它主要针对社区获得性细菌性肺炎(CABP)、急性细菌性皮肤及皮肤结构感染(ABSSSI)等病症,凭借独特的作用机制和良好的疗效,被视为应对当下严峻抗生素耐药危机的“利器”。据数据显示,该品种在2024年实现了销售业绩的爆发式增长,在全终端医院市场的销售总额逼近3亿元,同比增长高达128.84%;2025年上半年销售额近2亿元,同比增长44.08%,市场潜力可期。
甲苯磺酸奥马环素契合我国临床急需,曾入选《临床急需境外新药名单(第二批)》。2018年3月,该药首次申请临床,12月进入Ⅲ期临床。2024年,该药的注射剂型通过谈判成功纳入医保乙类目录,这一举措进一步提升了药物的可及性,减轻了患者的经济负担。
目前,注射用甲苯磺酸奥马环素是某药企的独家品种。2021年12月,该药企以新药申报形式在国内获批生产,凭借这一先发优势,在国内市场享受着明显的独占期红利。
然而,市场的独占格局并非一成不变。今年6月,仿制申请的“第一枪”打响,此后,众多药企纷纷跟进。截至目前,已有10家药企提交了4类仿制申请,均在审评审批中。
此次,海南两家药企联合入局,使得首仿竞争愈发激烈。首仿药不仅能在市场上占据先机,获得可观的经济效益,还能提升企业的品牌影响力和行业地位。因此,这场首仿之争备受瞩目,首仿究竟会花落谁家,成为行业内外共同期待的焦点。
下载格隆汇APP
下载诊股宝App
下载汇路演APP

社区
会员



